TMC

Cheville pour corps creux

La cheville métallique à expansion TMC avec vis pas métrique prémontée, permet la fixation d'éléments sur plaque de plâtre ou cloison sèche, ou tout support creux dont la cavité correspond aux dimensions de la cheville.

La cheville est disposée dans le perçage sur le support avec une pince dédiée, l'action de la pince permet l'expansion et le verouillage de la cheville contre le support.

L'élément ensuite est fixé grâce à la vis. 

Classe service 2
Acier électrozingué
Intérieur

Présentation

Images

Caractéristiques

Matière

  • Acier electrozingué.

Avantages

  • Colerette large pour compenser les imperfections du perçage,
  • La pose avec pince limite le risque de dégradation du support à la pose (cas produit avec pose vissée),
  • La géométrie de la cheville, notamment les parties pliantes, sont optimisées pour le confort de pose et une résistance accrue.

Application

Domaines d'utilisation

  • Equipements électriques,
  • Menuiseries intérieures,
  • Supports de tuyaux et radiateurs.

Supports

  • Plaque de plâtre,
  • Brique alvéolaire (compatibilité à vérifier),
  • Panneaux.

Données techniques

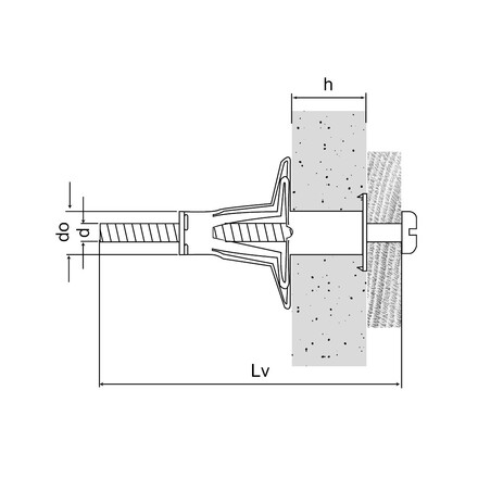
Dimensions

Dimensions

Références Référence Dimensions vis [dxLv] [mm] Ø perçage [d0] [mm] Plug length [Ø x L] Epaisseur mini paroi support [hmin] [mm] Epaissseur maxi paroi [hmax] [mm] Qté par boîte Qté par surconditionnemen Poids [kg]
7500100403800TMCM4x4188x334910020000.007
7500100404500M4x4788x3991610020000.008
7500100504500M5x431010x375135010000.014
7500100505800M5x601010x535185010000.017
7500100507100M5x741010x6518325010000.021
7500100604500M6x451212x375125010000.018
7500100605800M6x601212x535185010000.022
7500100607100M6x741212x6618325010000.026

Outil de pose

Références Référence Qté par boîte
4990100000100TMC-MTZ1

Capacités recommandées

Références Référence Dimensions vis [dxLv] [mm] Capacité recommandée Données d'installation
Traction - Nrec Cisaillement - Vrec Distance entre les bords [ccr,N] [mm] Espacement [scr,N] [mm] Couple maximal [Nm]
Plaque de plâtre 12,5 mm Plaque de plâtre 2 x 12,5 mm Brique Plaque de plâtre 12,5 mm Plaque de plâtre 2 x 12,5 mm Brique
7500100403800TMCM4x410.08-0.120.15-0.250501.5
7500100404500TMCM4x470.08-0.120.15-0.250501.5
7500100504500TMCM5x430.12-0.180.2-0.2575751.5
7500100505800TMCM5x600.12-0.180.2-0.2575751.5
7500100507100TMCM5x74-0.20.18-0.250.2575751.5
7500100604500TMCM6x450.16-0.20.25-0.385853
7500100605800TMCM6x600.16-0.20.25-0.385853
7500100607100TMCM6x74-0.20.2-0.30.385853
4990100000100TMC-MTZ----------

*Ces valeurs sont à titres indicatifs

Installation

Paquets ZIP

Acheter en ligne

No items available.

Contact

Simpson Strong-Tie France

Simpson Strong-Tie France

ZAC des Quatre Chemins
85400 Sainte-Gemme-la-Plaine
France