Étrier à âme - Aluminium
Cet étrier à âme fabriqué en aluminium permet de réaliser un assemblage bois sur bois totalement invisible pour des poutres de grandes hauteurs.
Présentation
Caractéristiques
Matière
- Aluminium EN AW 6005 A suivant la norme NF EN 573-1,
- Épaisseur 6 mm.
Avantages
- Disponible en barre de 1198 mm à découper suivant la hauteur de la poutre portée, ou prédécoupés
- Possibilité de reprendre des poutres jusqu'à une hauteur de 900 mm,
- Tenue au feu 1/2h en suivant certaines préconisations. N'hésitez pas à consulter notre documentation "Résistance au Feu - Fiabilité et Connecteurs".
Application
Support
- Porteur : bois massif, bois lamellé-collé...
- Porté : bois massif, bois lamellé-collé...
Domaines d'utilisation
- Solives,
- Pannes,
- Poutre porteuse...
Pour plus d'information concernant la résistance au feu, veuillez vous référer sur notre guide de préconisation ASSEMBLAGES AU FEU.
Discontinued Products
Variant Status Details
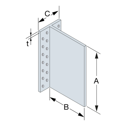
Données techniques
Dimensions
| Références | DB nr. | Dimensions [mm] | Qté par boîte | Poids [kg] | |||
|---|---|---|---|---|---|---|---|
| A | B | C | t | ||||
| BTALU90 | 1862485 | 86 | 109 | 62 | 6 | 25 | 0.23 |
| BTALU120 | 1821910 | 116 | 109 | 62 | 6 | 25 | 0.3 |
| BTALU160 | 1821917 | 156 | 109 | 62 | 6 | 25 | 0.41 |
| BTALU200 | 1862489 | 196 | 109 | 62 | 6 | 15 | 0.51 |
| BTALU240 | 1821920 | 236 | 109 | 62 | 6 | 15 | 0.61 |
| BTALU1200 | - | 1198 | 109 | 62 | 6 | - | 3 |
Le BTALU1200 est une barre de longueur 1198 mm. Ceci est l'unique dimension disponible.
Les perçages dans la solive doivent être réalisés suivant le plan de clouage défini dans notre ETE.
Il y a une tolérance de 4mm pour la découpe pour la dimension A. Cette découpe doit être réalisée entre les perçages.
Valeurs Caractéristiques - Solive sur poutre
| Références | Valeurs Caractéristiques - Solive sur poutre - Clouage total [kN] | |||||||||
|---|---|---|---|---|---|---|---|---|---|---|
| Fixations | R1,k = R2.k | |||||||||
| Porteur | Porté | Longueur de broches [mm] | ||||||||
| Qté | Type | Qté | Type | 60 | 80 | 100 | 120 | 140 | 160 | |
| BTALU90 | 16 | CNA4.0x50 | 4 | STD8 | 10.8 | 11.8 | 12.9 | 13.7 | 13.7 | 13.7 |
| BTALU120 | 20 | CNA4.0x50 | 3 | STD12 | 17.3 | 18.2 | 19.4 | 20.7 | 22.3 | 23.9 |
| BTALU160 | 28 | CNA4.0x50 | 4 | STD12 | 28 | 29.5 | 31.2 | 33.3 | 35.7 | 38.2 |
| BTALU200 | 38 | CNA4.0x50 | 5 | STD12 | 39.8 | 41.9 | 44.3 | 47.2 | 50.4 | 53.9 |
| BTALU240 | 44 | CNA4.0x50 | 6 | STD12 | 52.2 | 54.9 | 57.9 | 61.7 | 65.9 | 70.3 |
| BTALU1200/120 | 20 | CNA4.0x50 | 3 | STD12 | 17.3 | 18.2 | 19.4 | 20.7 | 22.3 | 23.9 |
| BTALU1200/160 | 28 | CNA4.0x50 | 4 | STD12 | 28 | 29.5 | 31.2 | 33.3 | 35.7 | 38.2 |
| BTALU1200/200 | 36 | CNA4.0x50 | 5 | STD12 | 39.8 | 41.9 | 44.3 | 47.2 | 50.4 | 53.9 |
| BTALU1200/240 | 44 | CNA4.0x50 | 6 | STD12 | 52.2 | 54.9 | 57.9 | 61.7 | 65.9 | 70.3 |
| BTALU1200/280 | 52 | CNA4.0x50 | 7 | STD12 | 64.6 | 68 | 71.7 | 76.4 | 81.7 | 87.2 |
| BTALU1200/320 | 60 | CNA4.0x50 | 8 | STD12 | 77 | 81 | 85.5 | 91.2 | 97.5 | 104.1 |
| BTALU1200/360 | 68 | CNA4.0x50 | 9 | STD12 | 89.1 | 93.8 | 99 | 105.8 | 113.3 | 121.1 |
| BTALU1200/400 | 76 | CNA4.0x50 | 10 | STD12 | 100.8 | 106.1 | 112.3 | 120.2 | 129 | 137.9 |
| BTALU1200/440 | 84 | CNA4.0x50 | 11 | STD12 | 112.1 | 118 | 125.2 | 134.4 | 144.4 | 154.7 |
| BTALU1200/480 | 92 | CNA4.0x50 | 12 | STD12 | 122.8 | 129.3 | 137.7 | 148.2 | 159.7 | 171.3 |
| BTALU1200/520 | 100 | CNA4.0x50 | 12 | STD12 | 122.8 | 129.3 | 138.4 | 150.5 | 163.1 | 175.8 |
| BTALU1200/560 | 108 | CNA4.0x50 | 12 | STD12 | 122.8 | 129.3 | 138.4 | 150.7 | 164.9 | 179.1 |
| BTALU1200/600 | 116 | CNA4.0x50 | 12 | STD12 | 122.8 | 129.3 | 138.4 | 150.7 | 164.9 | 180.4 |
La poutre doit avoir une largeur minimum = longueur de la broche.
Pour les poutres avec une pente β, les valeurs doivent être multipliées par le coefficient suivant :
| β | 0° | 15° | 30° | 45° |
| Coefficient | 1.0 | 0.95 | 0.9 | 0.85 |
Ceci est applicable seulement pour les assemblages avec moins de 7 broches dans la poutre.
Valeurs Caractéristiques - Solive sur poutre - R3.k et R4.k
| Références | Valeurs Caractéristiques - Solive sur poutre - Clouage total [kN] | ||||||||||
|---|---|---|---|---|---|---|---|---|---|---|---|
| Fixations | Valeurs Caractéristiques - Bois C24 [kN] | ||||||||||
| Porteur | Porté | R3,k | R4,k | ||||||||
| Qté | Type | Qté | Type | Longueur de broches [mm] | |||||||
| 60 | 80 | 100 | 120 | 140 | 160 | ||||||
| BTALU90 | 16 | CNA4.0x50 | 4 | STD8 | 1.5 | 1.9 | 2.3 | 2.7 | 3.1 | 3.6 | 7.8 |
| BTALU120 | 20 | CNA4.0x50 | 3 | STD12 | 2.2 | 2.9 | 3.5 | 4.2 | 4.8 | 5.6 | 9.8 |
| BTALU160 | 28 | CNA4.0x50 | 4 | STD12 | 2.9 | 3.6 | 4.4 | 5.3 | 6.2 | 7 | 13.7 |
| BTALU200 | 38 | CNA4.0x50 | 5 | STD12 | 3.5 | 4.4 | 5.4 | 6.4 | 7.4 | 8.4 | 17.6 |
| BTALU240 | 44 | CNA4.0x50 | 6 | STD12 | 4.2 | 5.3 | 6.4 | 7.4 | 8.6 | 9.8 | 21.6 |
| BTALU1200/120 | 20 | CNA4.0x50 | 3 | STD12 | 2.2 | 2.9 | 3.5 | 4.2 | 4.8 | 5.6 | 9.8 |
| BTALU1200/160 | 28 | CNA4.0x50 | 4 | STD12 | 2.9 | 3.6 | 4.4 | 5.3 | 6.2 | 7 | 13.7 |
| BTALU1200/200 | 36 | CNA4.0x50 | 5 | STD12 | 3.5 | 4.4 | 5.4 | 6.4 | 7.4 | 8.4 | 17.6 |
| BTALU1200/240 | 44 | CNA4.0x50 | 6 | STD12 | 4.2 | 5.3 | 6.4 | 7.4 | 8.6 | 9.8 | 21.5 |
| BTALU1200/280 | 52 | CNA4.0x50 | 7 | STD12 | 4.8 | 6.1 | 7.3 | 8.5 | 9.9 | 11.3 | 25.5 |
| BTALU1200/320 | 60 | CNA4.0x50 | 8 | STD12 | 5.5 | 6.8 | 8.3 | 9.7 | 11.1 | 12.9 | 29.4 |
| BTALU1200/360 | 68 | CNA4.0x50 | 9 | STD12 | 6.1 | 7.6 | 9.2 | 10.9 | 12.4 | 14.4 | 33.3 |
| BTALU1200/400 | 76 | CNA4.0x50 | 10 | STD12 | 6.7 | 8.3 | 10.1 | 12.1 | 13.8 | 15.8 | 37.2 |
| BTALU1200/440 | 84 | CNA4.0x50 | 11 | STD12 | 7.3 | 9.1 | 11 | 13.2 | 15.2 | 17.2 | 41.2 |
| BTALU1200/480 | 92 | CNA4.0x50 | 12 | STD12 | 7.9 | 9.8 | 11.9 | 14.3 | 16.6 | 18.7 | 45.1 |
| BTALU1200/520 | 100 | CNA4.0x50 | 12 | STD12 | 8.6 | 10.6 | 12.8 | 15.4 | 17.8 | 20.1 | 49 |
| BTALU1200/560 | 108 | CNA4.0x50 | 12 | STD12 | 9.2 | 11.3 | 13.8 | 16.5 | 19.1 | 21.5 | 52.9 |
| BTALU1200/600 | 116 | CNA4.0x50 | 12 | STD12 | 9.8 | 12.1 | 14.7 | 17.6 | 20.4 | 23 | 56.8 |
La poutre doit avoir une largeur minimum = longueur de la broche. Les valeurs R4,k sont données pour toutes les longueurs de broches.
Valeurs Caractéristiques - Solive sur poteau
| Références | Valeurs Caractéristiques - Solive sur poteau - Clouage partiel | ||||||||||
|---|---|---|---|---|---|---|---|---|---|---|---|
| Fixations | Largeur poteau | Valeurs Caractéristiques - Bois C24 [kN] | |||||||||
| Porteur | Porté | Min. | R1,k = R2.k | ||||||||
| Qté | Type | Qté | Type | Longueur de broches [mm] | |||||||
| 60 | 80 | 100 | 120 | 140 | 160 | ||||||
| BTALU90 | 8 | CNA4.0x50 | 4 | STD8 | 96 | 9 | 9.9 | 10.9 | 11.6 | 11.6 | 11.6 |
| BTALU120 | 12 | CNA4.0x50 | 3 | STD12 | 96 | 14.7 | 15.5 | 16.6 | 17.9 | 19.4 | 20.7 |
| BTALU160 | 16 | CNA4.0x50 | 4 | STD12 | 96 | 23.2 | 24.4 | 26 | 27.9 | 30 | 32 |
| BTALU200 | 20 | CNA4.0x50 | 5 | STD12 | 96 | 32.4 | 34.1 | 36.2 | 38.7 | 41.2 | 43.4 |
| BTALU240 | 24 | CNA4.0x50 | 6 | STD12 | 96 | 42.1 | 44.3 | 46.8 | 49.7 | 52.3 | 53.2 |
| BTALU1200/120 | 12 | CNA4.0x50 | 3 | STD12 | 96 | 14.7 | 15.5 | 16.6 | 17.9 | 19.4 | 20.7 |
| BTALU1200/160 | 16 | CNA4.0x50 | 4 | STD12 | 96 | 23.2 | 24.4 | 26 | 27.9 | 30 | 32 |
| BTALU1200/200 | 20 | CNA4.0x50 | 5 | STD12 | 96 | 32.4 | 34.1 | 36.2 | 38.7 | 41.2 | 43.4 |
| BTALU1200/240 | 24 | CNA4.0x50 | 6 | STD12 | 96 | 42.1 | 44.3 | 46.8 | 49.7 | 52.3 | 53.2 |
| BTALU1200/280 | 28 | CNA4.0x50 | 7 | STD12 | 96 | 52 | 54.7 | 57.5 | 60.5 | 62 | 62 |
| BTALU1200/320 | 32 | CNA4.0x50 | 8 | STD12 | 96 | 61.8 | 65.1 | 68.1 | 70.7 | 70.9 | 70.9 |
| BTALU1200/360 | 36 | CNA4.0x50 | 9 | STD12 | 96 | 71.7 | 75.5 | 78.5 | 79.8 | 79.8 | 79.8 |
| BTALU1200/400 | 40 | CNA4.0x50 | 10 | STD12 | 96 | 81.4 | 85.7 | 88.4 | 88.6 | 88.6 | 88.6 |
| BTALU1200/440 | 44 | CNA4.0x50 | 11 | STD12 | 96 | 91 | 95.8 | 97.5 | 97.5 | 97.5 | 97.5 |
| BTALU1200/480 | 48 | CNA4.0x50 | 12 | STD12 | 96 | 100.3 | 105.6 | 106.4 | 106.4 | 106.4 | 106.4 |
| BTALU1200/520 | 52 | CNA4.0x50 | 12 | STD12 | 96 | 105.5 | 111.1 | 114.6 | 115.2 | 115.2 | 115.2 |
| BTALU1200/560 | 56 | CNA4.0x50 | 12 | STD12 | 96 | 109.9 | 115.7 | 120.3 | 124 | 124.1 | 124.1 |
| BTALU1200/600 | 60 | CNA4.0x50 | 12 | STD12 | 96 | 113.8 | 119.8 | 125 | 130.5 | 133 | 133 |
La poutre doit avoir une largeur minimum = longueur de la broche. Pour les poutres avec une pente β les valeurs doivent être multipliées par le coefficient suivant :
| β | 0° | 15° | 30° | 45° |
| Coefficient | 1.0 | 0.95 | 0.9 | 0.85 |
Ceci est applicable seulement pour les assemblages avec moins de 7 broches dans la poutre. Les valeurs R4,k sont données pour toutes les longueurs de broches. Les valeurs indiquées dans ce tableau sont aussi valables pour un clouage partiel bois sur bois.
Valeurs Caractéristiques - Solive sur poteau - R3.k et R4.k
| Références | Valeurs Caractéristiques - Solive sur poteau - Clouage partiel | |||||||||||
|---|---|---|---|---|---|---|---|---|---|---|---|---|
| Fixations | Largeur poteau | Valeurs Caractéristiques - Bois C24 [kN] | ||||||||||
| Porteur | Porté | Min. | R3,k | R4,k | ||||||||
| Qté | Type | Qté | Type | Longueur de broches [mm] | ||||||||
| 60 | 80 | 100 | 120 | 140 | 160 | |||||||
| BTALU90 | 8 | CNA4.0x50 | 4 | STD8 | 96 | 1.5 | 1.9 | 2.3 | 2.7 | 2.7 | 2.7 | 3.9 |
| BTALU120 | 12 | CNA4.0x50 | 3 | STD12 | 96 | 2.2 | 2.9 | 3.5 | 4.2 | 4.8 | 5.6 | 5.9 |
| BTALU160 | 16 | CNA4.0x50 | 4 | STD12 | 96 | 2.9 | 3.6 | 4.4 | 5.3 | 6.2 | 7 | 7.8 |
| BTALU200 | 20 | CNA4.0x50 | 5 | STD12 | 96 | 3.5 | 4.4 | 5.4 | 6.4 | 7.4 | 8.4 | 9.8 |
| BTALU240 | 24 | CNA4.0x50 | 6 | STD12 | 96 | 4.2 | 5.3 | 6.4 | 7.4 | 8.6 | 9.8 | 11.8 |
| BTALU1200/120 | 12 | CNA4.0x50 | 3 | STD12 | 96 | 2.2 | 2.9 | 3.5 | 4.2 | 4.8 | 5.6 | 5.9 |
| BTALU1200/160 | 16 | CNA4.0x50 | 4 | STD12 | 96 | 2.9 | 3.6 | 4.4 | 5.3 | 6.2 | 7 | 7.8 |
| BTALU1200/200 | 20 | CNA4.0x50 | 5 | STD12 | 96 | 3.5 | 4.4 | 5.4 | 6.4 | 7.4 | 8.4 | 9.8 |
| BTALU1200/240 | 24 | CNA4.0x50 | 6 | STD12 | 96 | 4.2 | 5.3 | 6.4 | 7.4 | 8.6 | 9.8 | 11.8 |
| BTALU1200/280 | 28 | CNA4.0x50 | 7 | STD12 | 96 | 4.5 | 5.6 | 6.7 | 7.7 | 8.9 | 10.1 | 13.7 |
| BTALU1200/320 | 32 | CNA4.0x50 | 8 | STD12 | 96 | 5.2 | 6.4 | 7.7 | 8.8 | 10.2 | 11.5 | 15.7 |
| BTALU1200/360 | 36 | CNA4.0x50 | 9 | STD12 | 96 | 5.8 | 7.2 | 8.6 | 9.9 | 11.5 | 12.9 | 17.6 |
| BTALU1200/400 | 40 | CNA4.0x50 | 10 | STD12 | 96 | 6.5 | 8 | 9.6 | 11 | 12.7 | 14.4 | 19.6 |
| BTALU1200/440 | 44 | CNA4.0x50 | 11 | STD12 | 96 | 7.1 | 8.8 | 10.5 | 12.1 | 14 | 15.8 | 21.6 |
| BTALU1200/480 | 48 | CNA4.0x50 | 12 | STD12 | 96 | 7.7 | 9.5 | 11.5 | 13.2 | 15.3 | 17.2 | 23.5 |
| BTALU1200/520 | 52 | CNA4.0x50 | 12 | STD12 | 96 | 8.4 | 10.3 | 12.4 | 14.3 | 16.6 | 18.7 | 25.5 |
| BTALU1200/560 | 56 | CNA4.0x50 | 12 | STD12 | 96 | 9 | 11.1 | 13.4 | 15.4 | 17.8 | 20.1 | 27.4 |
| BTALU1200/600 | 60 | CNA4.0x50 | 12 | STD12 | 96 | 9.7 | 11.9 | 14.4 | 16.5 | 19.1 | 21.5 | 29.4 |
La poutre doit avoir une largeur minimum = longueur de la broche. Les valeurs R4,k sont données pour toutes les longueurs de broches.
Valeurs Caractéristiques - Solive sur poutre avec SDD
| Références | Valeurs Caractéristiques - Solive sur poutre - Clouage total [kN] | ||||||||
|---|---|---|---|---|---|---|---|---|---|
| Fixations | R1,k = R2.k | ||||||||
| Porteur | Porté | Longueur de broches [mm] | |||||||
| Qté | Type | Qté | Type | 93 | 113 | 133 | 153 | 173 | |
| BTALU90 | - | - | - | - | - | - | - | - | - |
| BTALU120 | 22 | CNA4.0x50 | 3 | SDD7.5 | 14.4 | 15.5 | 15.5 | 15.5 | 15.5 |
| BTALU160 | 30 | CNA4.0x50 | 4 | SDD7.5 | 23 | 24.6 | 26.4 | 26.4 | 26.4 |
| BTALU200 | 38 | CNA4.0x50 | 5 | SDD7.5 | 32.2 | 34.3 | 37 | 39.7 | 39.7 |
| BTALU240 | 46 | CNA4.0x50 | 6 | SDD7.5 | 40.4 | 44.1 | 47.5 | 51.4 | 51.4 |
| BTALU1200/120 | 20 | CNA4.0x50 | 3 | SDD7.5 | 14.4 | 15.5 | 15.5 | 15.5 | 15.5 |
| BTALU1200/160 | 28 | CNA4.0x50 | 4 | SDD7.5 | 23 | 24.6 | 26.4 | 26.4 | 26.4 |
| BTALU1200/200 | 36 | CNA4.0x50 | 5 | SDD7.5 | 32.2 | 34.3 | 37 | 39.7 | 39.7 |
| BTALU1200/240 | 44 | CNA4.0x50 | 6 | SDD7.5 | 40.4 | 44.1 | 47.5 | 51.4 | 51.4 |
| BTALU1200/280 | 52 | CNA4.0x50 | 7 | SDD7.5 | 49.4 | 53.1 | 58.2 | 62.8 | 65.4 |
| BTALU1200/320 | 60 | CNA4.0x50 | 8 | SDD7.5 | 57.4 | 62.5 | 68 | 74 | 77.7 |
| BTALU1200/360 | 68 | CNA4.0x50 | 9 | SDD7.5 | 64.6 | 71.1 | 78.1 | 85 | 89.8 |
| BTALU1200/400 | 76 | CNA4.0x50 | 10 | SDD7.5 | 71.7 | 79 | 87.5 | 96 | 101.9 |
| BTALU1200/440 | 84 | CNA4.0x50 | 11 | SDD7.5 | 78.9 | 86.9 | 96.2 | 106.2 | 113.9 |
| BTALU1200/480 | 92 | CNA4.0x50 | 12 | SDD7.5 | 86.1 | 87.8 | 105 | 115.9 | 125.1 |
| BTALU1200/520 | 100 | CNA4.0x50 | 12 | SDD7.5 | 86.1 | 87.8 | 105 | 115.9 | 125.1 |
| BTALU1200/560 | 108 | CNA4.0x50 | 12 | SDD7.5 | 86.1 | 87.8 | 105 | 115.9 | 125.1 |
| BTALU1200/600 | 116 | CNA4.0x50 | 12 | SDD7.5 | 86.1 | 87.8 | 105 | 115.9 | 125.1 |
La poutre doit avoir une largeur minimum = longueur de la broche.
Pour les poutres avec une pente β, les valeurs doivent être multipliées par le coefficient suivant :
| β | 0° | 15° | 30° | 45° |
| Coefficient | 1.0 | 0.95 | 0.9 | 0.85 |
Ceci est applicable seulement pour les assemblages avec moins de 7 broches dans la poutre.
La longueur effective des broches est égal à la longueur total des broches -13mm
Valeurs Caractéristiques - Solive sur poutre - R3.k et R4.k - SDD
| Références | Valeurs Caractéristiques - Solive sur poutre - Clouage total [kN] | |||||||||
|---|---|---|---|---|---|---|---|---|---|---|
| Fixations | Valeurs Caractéristiques - Bois C24 [kN] | |||||||||
| Porteur | Porté | R3,k | R4,k | |||||||
| Qté | Type | Qté | Type | Longueur de broches [mm] | ||||||
| 93 | 113 | 133 | 153 | 173 | ||||||
| BTALU90 | - | - | - | - | - | - | - | - | - | - |
| BTALU120 | 22 | CNA4.0x50 | 3 | SDD7.5 | 2.9 | 3.5 | 4.2 | 4.8 | 5.6 | 8.8 |
| BTALU160 | 30 | CNA4.0x50 | 4 | SDD7.5 | 3.6 | 4.4 | 5.3 | 6.2 | 7 | 12.7 |
| BTALU200 | 38 | CNA4.0x50 | 5 | SDD7.5 | 4.4 | 5.4 | 6.4 | 7.4 | 8.4 | 16.7 |
| BTALU240 | 46 | CNA4.0x50 | 6 | SDD7.5 | 5.3 | 6.4 | 7.4 | 8.6 | 9.8 | 20.6 |
| BTALU1200/120 | 20 | CNA4.0x50 | 3 | SDD7.5 | 2.9 | 3.5 | 4.2 | 4.8 | 5.6 | 8.8 |
| BTALU1200/160 | 28 | CNA4.0x50 | 4 | SDD7.5 | 3.6 | 4.4 | 5.3 | 6.2 | 7 | 12.7 |
| BTALU1200/200 | 36 | CNA4.0x50 | 5 | SDD7.5 | 4.4 | 5.4 | 6.4 | 7.4 | 8.4 | 16.7 |
| BTALU1200/240 | 44 | CNA4.0x50 | 6 | SDD7.5 | 5.3 | 6.4 | 7.4 | 8.6 | 9.8 | 20.6 |
| BTALU1200/280 | 52 | CNA4.0x50 | 7 | SDD7.5 | 6.1 | 7.3 | 8.5 | 9.9 | 11.3 | 24.5 |
| BTALU1200/320 | 60 | CNA4.0x50 | 8 | SDD7.5 | 6.8 | 8.3 | 9.7 | 11.1 | 12.9 | 28.4 |
| BTALU1200/360 | 68 | CNA4.0x50 | 9 | SDD7.5 | 7.6 | 9.2 | 10.9 | 12.4 | 14.4 | 32.3 |
| BTALU1200/400 | 76 | CNA4.0x50 | 10 | SDD7.5 | 8.3 | 10.1 | 12.1 | 13.8 | 15.8 | 36.3 |
| BTALU1200/440 | 84 | CNA4.0x50 | 11 | SDD7.5 | 9.1 | 11 | 13.2 | 15.2 | 17.2 | 40.2 |
| BTALU1200/480 | 92 | CNA4.0x50 | 12 | SDD7.5 | 9.8 | 11.9 | 14.3 | 16.6 | 18.7 | 44.1 |
| BTALU1200/520 | 100 | CNA4.0x50 | 12 | SDD7.5 | 10.6 | 12.8 | 15.4 | 17.8 | 20.1 | 48 |
| BTALU1200/560 | 108 | CNA4.0x50 | 12 | SDD7.5 | 11.3 | 13.8 | 16.5 | 19.1 | 21.5 | 51.9 |
| BTALU1200/600 | 116 | CNA4.0x50 | 12 | SDD7.5 | 12.1 | 14.7 | 17.6 | 20.4 | 23 | 55.9 |
La poutre doit avoir une largeur minimum = longueur de la broche. Les valeurs R4,k sont données pour toutes les longueurs de broches.
Valeurs Caractéristiques - Solive sur poteau avec des SDD
| Références | Valeurs Caractéristiques - Solive sur poteau - Clouage partiel avec SDD | ||||||||||
|---|---|---|---|---|---|---|---|---|---|---|---|
| Fixations | Largeur poteau | Valeurs Caractéristiques - Bois C24 [kN] | |||||||||
| Porteur | Porté | Min. | R1,k = R2.k | R4,k | |||||||
| Qté | Type | Qté | Type | Longueur de broches [mm] | |||||||
| 93 | 113 | 133 | 153 | 173 | |||||||
| BTALU90 | - | - | - | - | 96 | - | - | - | - | - | - |
| BTALU120 | 12 | CNA4.0x50 | 3 | SDD7.5 | 96 | 12.2 | 13.2 | 13.5 | 14.1 | 14.1 | 8.8 |
| BTALU160 | 16 | CNA4.0x50 | 4 | SDD7.5 | 96 | 18.7 | 19.7 | 21.3 | 21.3 | 21.3 | 12.7 |
| BTALU200 | 20 | CNA4.0x50 | 5 | SDD7.5 | 96 | 25.9 | 27.7 | 29.8 | 29.8 | 29.8 | 16.7 |
| BTALU240 | 24 | CNA4.0x50 | 6 | SDD7.5 | 96 | 33.6 | 36.2 | 38.9 | 38.9 | 38.9 | 20.6 |
| BTALU1200/120 | 12 | CNA4.0x50 | 3 | SDD7.5 | 96 | 12.2 | 13.2 | 13.5 | 14.1 | 14.1 | 8.8 |
| BTALU1200/160 | 16 | CNA4.0x50 | 4 | SDD7.5 | 96 | 18.7 | 19.7 | 21.3 | 21.3 | 21.3 | 12.7 |
| BTALU1200/200 | 20 | CNA4.0x50 | 5 | SDD7.5 | 96 | 25.9 | 27.7 | 29.8 | 29.8 | 29.8 | 16.7 |
| BTALU1200/240 | 24 | CNA4.0x50 | 6 | SDD7.5 | 96 | 33.6 | 36.2 | 38.9 | 38.9 | 38.9 | 20.6 |
| BTALU1200/280 | 28 | CNA4.0x50 | 7 | SDD7.5 | 96 | 41.5 | 44.9 | 48.2 | 48.2 | 48.2 | 24.5 |
| BTALU1200/320 | 32 | CNA4.0x50 | 8 | SDD7.5 | 96 | 49.4 | 53.6 | 53.6 | 53.6 | 53.6 | 28.4 |
| BTALU1200/360 | 36 | CNA4.0x50 | 9 | SDD7.5 | 96 | 57.5 | 62.4 | 62.4 | 62.4 | 62.4 | 32.3 |
| BTALU1200/400 | 40 | CNA4.0x50 | 10 | SDD7.5 | 96 | 65.5 | 71.2 | 76.4 | 76.4 | 76.4 | 36.3 |
| BTALU1200/440 | 44 | CNA4.0x50 | 11 | SDD7.5 | 96 | 73.6 | 79.3 | 85.8 | 91.4 | 92.5 | 40.2 |
| BTALU1200/480 | 48 | CNA4.0x50 | 12 | SDD7.5 | 96 | 81.4 | 57.9 | 94.5 | 100.2 | 101.7 | 44.1 |
| BTALU1200/520 | 52 | CNA4.0x50 | 12 | SDD7.5 | 96 | 83.6 | 90.2 | 97.5 | 104.1 | 106.4 | 48 |
| BTALU1200/560 | 56 | CNA4.0x50 | 12 | SDD7.5 | 96 | 85.9 | 92.5 | 100.5 | 107.9 | 111.2 | 51.9 |
| BTALU1200/600 | 60 | CNA4.0x50 | 12 | SDD7.5 | 96 | 85.9 | 94.8 | 103.5 | 111.7 | 115.9 | 55.9 |
La poutre doit avoir une largeur minimum = longueur de la broche. Pour les poutres avec une pente β les valeurs doivent être multipliées par le coefficient suivant :
| β | 0° | 15° | 30° | 45° |
| Coefficient | 1.0 | 0.95 | 0.9 | 0.85 |
Ceci est applicable seulement pour les assemblages avec moins de 7 broches dans la poutre. Les valeurs R4,k sont données pour toutes les longueurs de broches. Les valeurs indiquées dans ce tableau sont aussi valables pour un clouage partiel bois sur bois.
Valeurs Caractéristiques - Solive sur poteau - R3.k et R4.k - SDD
| Références | Valeurs Caractéristiques - Solive sur poteau - Clouage partiel avec SDD | ||||||||||
|---|---|---|---|---|---|---|---|---|---|---|---|
| Fixations | Largeur poteau | Valeurs Caractéristiques - Bois C24 [kN] | |||||||||
| Porteur | Porté | Min. | R3,k | R4,k | |||||||
| Qté | Type | Qté | Type | Longueur de broches [mm] | |||||||
| 93 | 113 | 133 | 153 | 173 | |||||||
| BTALU90 | - | - | - | - | 96 | - | - | - | - | - | - |
| BTALU120 | 12 | CNA4.0x50 | 3 | SDD7.5 | 96 | 2.9 | 3.5 | 4.2 | 4.8 | 5.6 | 8.8 |
| BTALU160 | 16 | CNA4.0x50 | 4 | SDD7.5 | 96 | 3.6 | 4.4 | 5.3 | 6.2 | 7 | 12.7 |
| BTALU200 | 20 | CNA4.0x50 | 5 | SDD7.5 | 96 | 4.4 | 5.4 | 6.4 | 7.4 | 8.4 | 16.7 |
| BTALU240 | 24 | CNA4.0x50 | 6 | SDD7.5 | 96 | 5.3 | 6.4 | 7.4 | 8.6 | 9.8 | 20.6 |
| BTALU1200/120 | 12 | CNA4.0x50 | 3 | SDD7.5 | 96 | 2.9 | 3.5 | 4.2 | 4.8 | 5.6 | 8.8 |
| BTALU1200/160 | 16 | CNA4.0x50 | 4 | SDD7.5 | 96 | 3.6 | 4.4 | 5.3 | 6.2 | 7 | 12.7 |
| BTALU1200/200 | 20 | CNA4.0x50 | 5 | SDD7.5 | 96 | 4.4 | 5.4 | 6.4 | 7.4 | 8.4 | 16.7 |
| BTALU1200/240 | 24 | CNA4.0x50 | 6 | SDD7.5 | 96 | 5.3 | 6.4 | 7.4 | 8.6 | 9.8 | 20.6 |
| BTALU1200/280 | 28 | CNA4.0x50 | 7 | SDD7.5 | 96 | 5.6 | 6.7 | 7.7 | 8.9 | 10.1 | 24.5 |
| BTALU1200/320 | 32 | CNA4.0x50 | 8 | SDD7.5 | 96 | 6.4 | 7.7 | 8.8 | 10.2 | 11.5 | 28.4 |
| BTALU1200/360 | 36 | CNA4.0x50 | 9 | SDD7.5 | 96 | 7.2 | 8.6 | 9.9 | 11.5 | 12.9 | 32.3 |
| BTALU1200/400 | 40 | CNA4.0x50 | 10 | SDD7.5 | 96 | 8 | 9.6 | 11 | 12.7 | 14.4 | 36.3 |
| BTALU1200/440 | 44 | CNA4.0x50 | 11 | SDD7.5 | 96 | 8.8 | 10.5 | 12.1 | 14 | 15.8 | 40.2 |
| BTALU1200/480 | 48 | CNA4.0x50 | 12 | SDD7.5 | 96 | 9.5 | 11.5 | 13.2 | 15.3 | 17.2 | 44.1 |
| BTALU1200/520 | 52 | CNA4.0x50 | 12 | SDD7.5 | 96 | 10.3 | 12.4 | 14.3 | 16.6 | 18.7 | 48 |
| BTALU1200/560 | 56 | CNA4.0x50 | 12 | SDD7.5 | 96 | 11.1 | 13.4 | 15.4 | 17.8 | 20.1 | 51.9 |
| BTALU1200/600 | 60 | CNA4.0x50 | 12 | SDD7.5 | 96 | 11.9 | 14.4 | 16.5 | 19.1 | 21.5 | 55.9 |
La poutre doit avoir une largeur minimum = longueur de la broche. Les valeurs R4,k sont données pour toutes les longueurs de broches.
Installation
Montage
Fixations
En environnement sec:
Sur porteur :
- En environnement sec: Pointes CNA Ø4,0 x 50 mm ou vis CSA Ø5,0 x 40 mm
- En environnement humide: vis inox CSA-S Ø5,0 x 40 mm
Sur porté :
- En environnement sec: Broches STD Ø12 ou broche autoperceuse SDD Ø7.5
- En environnement humide: Broches inox STDS Ø12
Installation
Le BTALU est vendu soit prédécoupé, soit en barre de 1198 mm. Dans le deuxième cas, il doit être recoupé par l'utilisateur, la longueur utile maximale étant de 600 mm. L'étrier peut être utilisé avec une poutre portée dont la pente est comprise entre - 45° et + 45°. Le BTALU est livré sans perçage dans l'âme. Les perçages doivent être réalisés avec un entraxe régulier de 40 mm avant introduction des broches STD Ø12 (voir "Notice de montage").
- Couper le BTALU à la hauteur voulue (les valeurs de charges sont données pour une hauteur maximale de 600 mm),
- Fixer le BTALU sur le porteur avec des pointes CNA Ø4,0 x 50 mm pour une application en intérieur sec. Pour une application en exterieur, fixer avec des pointes inox CNA4.0X50S ou vis CSA5.0X40S.
- Réaliser un lamage vertical à l'axe de la poutre portée d'une épaisseur de 9 mm et d'une profondeur de 115 mm sur toute la hauteur de la poutre pour insérer l'âme de l'étrier,
- Placer la poutre sur l'étrier en position finale,
- Percer en même temps le bois et l'âme de l'étrier en prenant en compte les préconisations de perçages sur l'âme du BTALU. Le perçage du bois peut être effectué en amont et ainsi servir de guide pour la perforation des trous de broches dans l'âme de l'étrier,
- Insérer les broches dans les perçages pour terminer la mise en place. (broche STD Ø12 pour une application en intérieur, broche inox STDS Ø12 pour une application en extérieur)
Dans le cas d'un perçage du bois et de l'étrier en simultané pour les broches lisse STD, le perçage doit être de 12 mm. Avec les broche lisse STD, en phase chantier ou dans le cas d'un chargement léger, il est recommandé d'avoir un moyen de maintien en position des broches, soit par colle soit en prenant des broches de longueur inférieure à la largeur du bois portée, et en encapsulant les broches.
Il est également possible pour une application en milieu sec d'utiliser les broches autoperceuses SDD, pour un gain de temps à la mise en oeuvre.